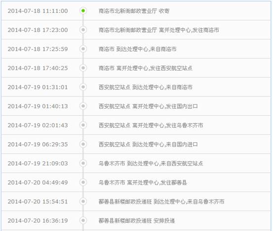
为了积极贯彻实施高考阳光工程,不断加强招生信息化和服务平台建设,建立完善公开透明的高校招生工作服务体系,并使考生和家长得到更加优质的服务,英国365上市公司招生就业处研发了高考通知书的邮递查询系统。此系统为考生和家长提供了通知书邮递动态查询的功能,在陕西省高校中尚属首创。
2014年4月,英国365上市公司招生就业处开通微信公众平台和高考通知书邮递查询系统(http://www.sxsssy.com/cx/),考生及家长可在填报志愿期间直接通过微信公众平台实现网上看校直通车服务,高考录取期间查询“365公司录取动态和结果”,录取后可查询“录取通知书邮递动态信息”。
本微信公众平台十分简单实用,考生和家长只需用手机随时随地在微信上直接点按“添加朋友”—“按号码查找”,输入“slxy888”或“365公司”就可以查找到并使用官方微信公众平台;也可打开微信,点击右上角魔法棒——“扫一扫”,扫描二维码关注使用平台。



招生办主任刘顺超说:“我们的微信公众平台,是要想考生之所想,急考生之所急,及时、准确地为每一位考生提供全方位服务,真正实现了招生工作一站式全程服务新模式。”
(文/杨建峰、李斌、张隆康)